Home Start Back Next End
  
16
Tabel 2. 3 Fungsi Lain Port D AVR ATMega 8535
Port Pin
Fungsi Lain
PD7
OC2 (Timer / Counter2 Output Compare Match Output)
PD6
ICP1 (Timer / Counter1 Input Capture Pin)
PD5
OC1A (Timer / Counter1 Output Compare A Match Output)
PD4
OC1B (Timer / Counter1 Output Compare B Match Output)
PD3
INT1 (External Interrupt 1 Input)
PD2
INT0 (External Interrupt 0 Input)
PD1
TXD (USART Output Pin)
PD0
RXD (USART Input Pin)
Pin reset berfungsi me-reset fungsi dari input dan mikrokontroller. Pin ini
akan aktif jika diberi ground lebih dari panjang pulsa minimum (aktif LOW).
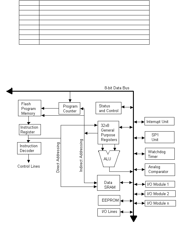
2.3.2
Struktur Arsitektur AVR ATMega8535
Gambar 2. 5 Arsitektur AVR ATMega8535
Word to PDF Converter | Word to HTML Converter